Bản lề cổng âm sàn các bước thi công và lắp đặt chính xác nhất
Hiện nay, cổng âm sàn đang là sự lựa chọn hàng đầu để bảo vệ an toàn cho các ngôi nhà. Khi lắp đặt bản lề cổng âm sàn là bộ phận cần được quan tâm và đòi hỏi độ chính xác cao. Chi tiết về cách lắp đặt sẽ được thông tin đến bạn đọc ngay trong bài viết sau đây.
Bước 1: Khảo sát mặt bằng trước khi lắp đặt bản lề cổng âm sàn

Đây là bước đầu tiên trước khi thi công và phải đảm bảo vị trí thi công đã có cốt nền. Ngoài ra, còn phải đo kích thước thông thủy cổng, vị trí đặt đế âm sàn, đường đi của dây điện, ống thoát nước… Khi đủ điều kiện mới tiến hành thi công.
Với những công trình phức tạp thì cần có bản vẽ chi tiết để xác định vị trí của cối trên, khe hở. Từ đó, mới có thể đặt bản lề cổng âm sàn theo đúng vị trí so với cánh cổng.
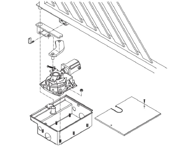
Bước 2: Tiến hành đặt đế âm sàn, đi đường dây điện và ống thoát nước
Trước tiên, cần phải đào 2 vị trí lắp đế âm sàn và bố trí đường điện và ống thoát nước. Trong khi đào cần để dư để đổ bê tông cố định động cơ và bản lề cổng âm sàn. Độ sâu ít nhất là 20cm với cốt dưới là bê tông và 30cm với cốt dưới là đất. Bê tông phải lấp kín hết đế âm.
Sau khi có cốt nền, cần tiến hành đục vị trí đặt đế âm đảm bảo phải cao hơn cốt nền từ 0.5-1cm để nước và bụi bẩn không thể vào. Đường điện cần phân biệt màu giữa các thiết bị. Dùng ống nhựa PVC D34 loại 2mm làm ống thoát nước và lắp dốc để đảm bảo nước thoát hết ra ngoài.

Sau khi thực hiện xong thì đổ bê tông. Chờ 24h, rồi tiến hành lắp động cơ âm sàn và dựng cổng.
Bước 3: Dựng cổng, hàn đính bản lề cổng âm sàn
Sau khi đế âm đã cứng thì tiến hành dựng cổng. Tiến hành dựng lần lượt từng bên sau đó tra mỡ bôi trơn vào ngõ và cối trước khi hàn đính cổng vào bản lề.
Bước 4: Kiểm tra khe hở của cửa cổng
Khe hở cửa cổng phải đều nhau giữa các cánh. Các mối hàn không bị lệch, tiếp đó hàn lại cho chắc chắn. Khi dùng tay mở cổng phải êm và ít bị ma sát.
Bước 5: Lắp bản lề cổng âm sàn, đấu điện và thử cổng
Trước khi lắp đặt motor cổng âm sàn phải vệ sinh thật kỹ.
Lắp mô tơ cho từng cánh cổng, cổng mở hướng nào thì đuôi của mô tơ quay về hướng đó. Sử dụng ecu để cố định. Tiếp theo là lắp tay khuỷu, chốt và card thu phát tín hiệu.
Treo hộp điều khiển vào dây điện chờ sẵn. Đấu nối dây động cơ, cảm biến. Lưu ý nên để vị trí nối trong hộp nối trên mặt đất, không nên để dưới tránh ẩm ướt.
Trước khi cắm điện cần kiểm tra lần cuối. Cài đặt lại hành trình cho cổng, căn chỉnh khóa sao cho quá trình vận hành đạt góc an toàn.
Bước 6: Hoàn thiện và vệ sinh công trình

Bắn keo silicon để bảo vệ cảm biến, làm sạch đế âm và động cơ trước khi đóng nắp. Nắp cần được cài nắp chắn rác cho đế motor. Tiếp đó thử đổ nước vào để kiểm tra hệ thống thoát nước có hoạt động tốt không. Kiểm tra lại các chế độ vận hành của cổng.
Bước 7: Hướng dẫn cách dùng và bàn giao công trình
Sau khi đã hoàn tất các công việc, đơn vị thi công sẽ hướng dẫn cách dùng và bàn giao công trình cho khách hàng. Đó là chìa khóa và các thiết bị còn lại. Ký biên bản nghiệm thu công trình. Khách hàng sẽ được bảo hành theo thời gian bảo hành của nhà sản xuất ghi trên bao bì thiết bị.
Đơn vị cung cấp và lắp đặt cổng tự động âm sàn tại Hà Nội
ELITE HOUSES sở hữu đội ngũ nhân viên tận tâm và có trình độ chuyên môn cao. Chúng tôi cam kết mang đến cho quý khách những sản phẩm chất lượng nhất trên thị trường hiện nay.
Để được tư vấn giải pháp tối ưu nhất cho công trình của gia đình mình. Và nhận báo giá cho từng mẫu sản phẩm bản lề cổng âm sàn và thiết bị điện cao cấp legrand. Hãy liên hệ trực tiếp với ELITE HOUSES qua số điện thoại: 0528051986. Với các sản phẩm ổ cắm đôi 3 chấu legrand, ổ cắm mạng legrand, ổ cắm chống nước legrand của thiết bị điện legrand. Chúng tôi hy vọng sẽ mang đến cho các bạn những giải pháp thông minh nhất cho ngôi nhà của mình.







