Mô tơ cửa cổng trượt và nguyên lý hoạt động
Cổng trượt tự động đã quá quen thuộc với chúng ta, nó khá phổ biến trong thị trường hiện nay. Cổng trượt tự động hoạt động trơn tru. Đôi lúc không cần đến thiết bị remote cũng hoạt động linh hoạt. Có bao giờ bạn tự hỏi nguyên lý hoạt động của mô tơ cửa cổng trượt như thế nào? Hãy cùng chúng tôi tìm hiểu bài viết dưới đây của chúng tôi nhé!
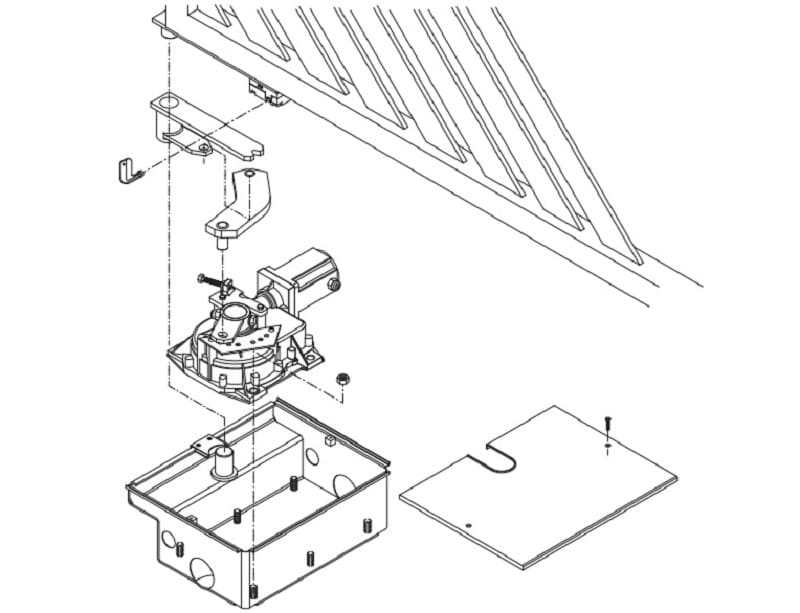
1. Mô tơ cửa cổng trượt tự động là gì?

Motor cửa cổng trượt là thiết bị dùng cho các loại cổng đóng mở theo cơ chế tự động. Là bộ phận quan trọng trong toàn bộ hệ thống cổng trượt tự động hiện nay. Motor có vai trò là thiết bị truyền lực, quyết định đến hiệu suất hoạt động đóng mở cổng. Giúp tiết kiệm được thời gian đóng mở cổng và thuận tiện hơn trong việc di chuyển.
2. Nguyên lý hoạt động mô tơ cửa cổng trượt
2.1 Quy trình làm việc tự động bằng điều khiển remote
Người sử dụng thiết bị điều khiển remote từ xa để kích hoạt motor cửa trượt. Khi nhận được tín hiệu mô tơ sẽ tạo lực điều khiển. Cánh cổng trượt theo đường ray cố định để ra một khoảng trống. Khi nhận được tín hiệu đóng cổng thì mô tơ điều khiển cổng theo hướng ngược lại.
Thay vì sử dụng phương pháp truyền thống chỉ cần một nút bấm. Cổng sẽ nhẹ nhàng trượt trên đường ray một cách nhanh chóng nhất.
2.2 Quy trình làm việc tự động bằng hệ thống cảm biến

Thiết bị cảm biến phát hiện đối tượng chuyển động gần khu vực cảm biến. Nó sẽ gửi tín hiệu đến bộ điều khiển và sẽ phán đoán sau đó gửi tín hiệu đến động cơ.
Nguồn điện động cơ bắt đầu chạy chậm sau đó tăng tốc. Đưa vành đai đồng bộ làm việc cùng một lúc. Sau khi hoàn thành việc đóng mở cửa, bộ điều khiển chính sẽ điều khiển thời gian. Mở tiếp tục sau đó gửi chỉ thị đến động cơ để truyền động dây đai.
Nguyên lý hoạt động của động cơ motor khi sử dụng không có điều gì quá phức tạp. Bộ phận quan trọng là có một bánh nhông kết nối với ray. Khi bánh răng quay sẽ giúp cho cổng di chuyển. Tuy nhiên, phải đảm bảo kích thước được trùng khớp nhau để động cơ hoạt động. Người sử dụng phải đứng cách xa đường ray cổng một khoảng cách an toàn. Để cổng hoạt động một cách trơn tru nhất.
Trên thị trường hiện nay có nhiều thương hiệu về motor cửa cổng tự động đa dạng về mẫu mã. Để lựa chọn được một motor phù hợp cho cánh cổng tự động cho ngôi nhà thân yêu. Quý khách hàng hãy tham khảo hoặc liên hệ về công ty chúng tôi để được tư vấn và báo giá tốt nhất. Ngoài ra, công ty chúng tôi còn cung cấp ra thị trường dòng sản phẩm thiết bị legrand. Đó là những sản phẩm nhiều ưu điểm vượt trội sản xuất theo tiêu chuẩn công nghệ hiện đại của tập đoàn Legrand nổi tiếngQuý khách hàng có thể tham khảo thêm thông tin tại:
Công ty cổ phần tư vấn thiết kế Elite Houses
Hotline: 05.2805.1986.
Website https://ehishome.com/.





